在工业生产中,车间常因切削液、冷却液和润滑油的使用,产生大量油雾、微雾和烟尘,这不仅危害员工健康,也会对设备造成潜在损害。为解决这些难题,博迪荣耀HCY-W6离心式油雾收集器全新登场,为企业打造环保、安全的生产环境。

高效过滤原理:三重过滤层层净化
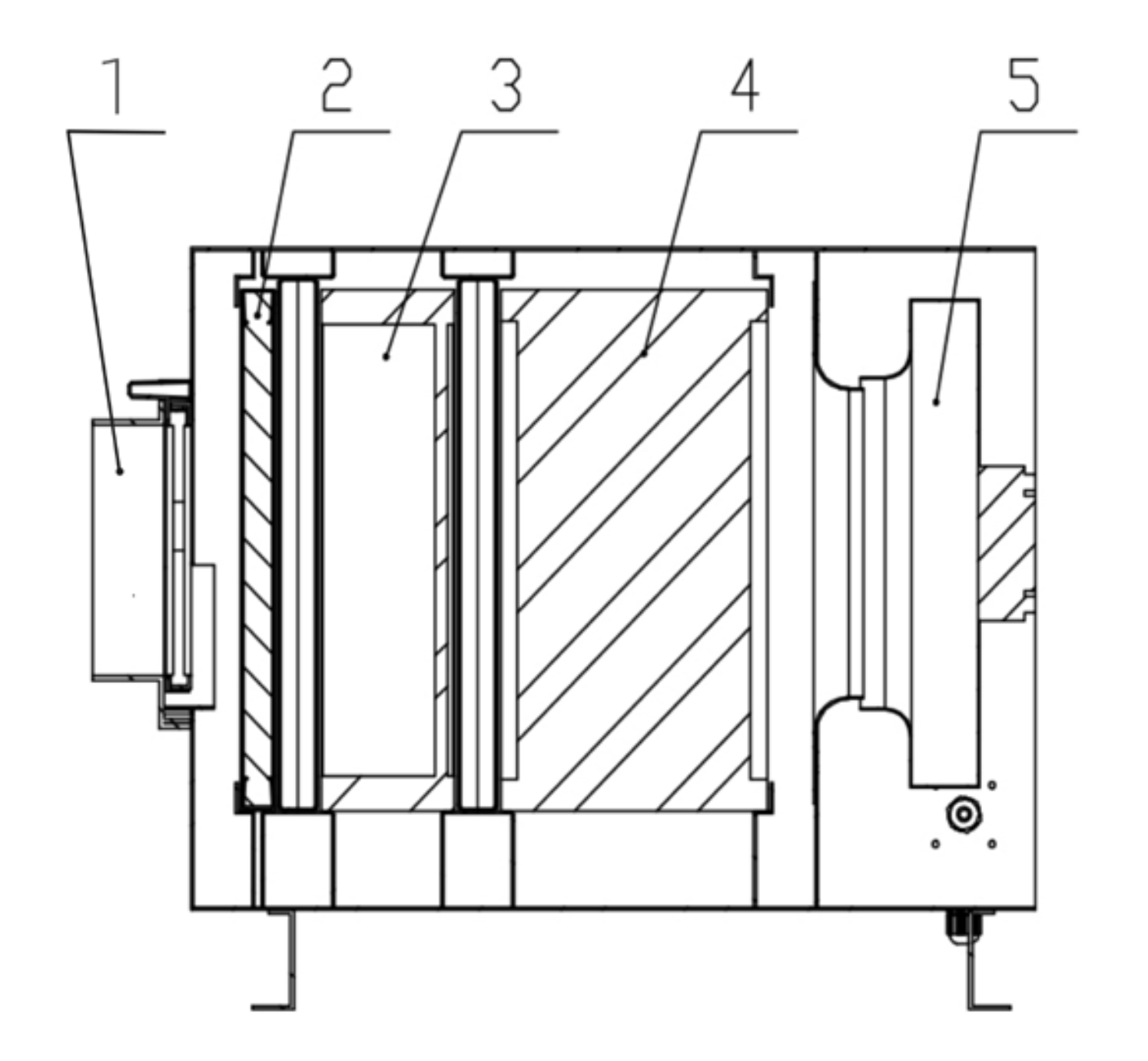
HCY-W6采用创新的三重过滤系统,确保油雾颗粒从大到微小层层净化,蕞终实现空气的高效清洁。
?1. 进风口:优化气流分布
水平进风设计,确保油雾颗粒均匀分散进入设备,为后续过滤打下基础。密封设计杜绝泄漏,保证设备运行效率。
2. 初效过滤段:20mm金属丝网过滤器
拦截大颗粒油雾和液滴,实现初步分离。金属丝网过滤器可清洗重复使用,提升设备经济性,同时回收冷却液,减少浪费。
3. 中效过滤段:F5~F8中效过滤棉
有效过滤中等尺寸的颗粒物,为高效过滤器提供?;???筛菪枨笱≡癫煌说燃?,兼顾净化效率与耗材成本。
4. 高效过滤段:HEPA高效过滤网(H13级别)
捕获PM2.5及以下的超细颗粒,过滤效率高达99.9%。符合洁净室级别的净化标准,全面提升车间空气质量。
5. 无刷风机:可无极调速
支持无极调速,根据实际工况调节风量,平衡能耗与性能。风机运行无摩擦,噪音低至≤65dBA,为车间提供安静的操作环境。

博迪荣耀HCY-W6亮点与核心优势
1.?Harting 连接器:智能工业新选择
??榛杓疲褐С侄嘀殖叽缬氩逭胧赏甭愕缌?、信号和数据传输需求。
高防护等级:防水、防尘性能卓越,适用于各种严苛环境,确保系统长期稳定运行。
易安装与扩展:灵活接口设计,支持快速安装与拆卸,适合复杂生产系统的扩展需求。
2. 节能环保,运行安静
无刷风机技术,不仅降低运行能耗,还将噪音控制在≤65dBA以内,改善车间环境。滤芯使用寿命长达8-12个月,减少维护频率和耗材成本。
3. 灵活安装,适配多种工况
提供顶部安装和侧旁安装两种选项,满足不同车间布局需求。支持多种配件扩展(如管道系统、电控系统等),优化使用体验。
4. 持久耐用,维护便捷
合金钢外壳,设计使用寿命高达20年。锁扣铰链门设计,快速完成滤芯更换,省时省力。
无论是车床、铣床的常规加工,还是高精度磨削与齿轮加工,这款小型离心式油雾收集器都能提供高效的油雾净化效果,满足各种设备与场景需求,助力环保生产与健康车间建设。
让HCY-W6成为您车间的环保卫士,助力企业实现更高的生产价